HBT305D (300 kN)
Máquina de ensaio de dobramento e redobramento de vergalhões
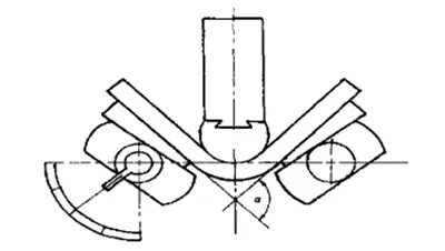
A máquina de ensaio de dobramento vertical de vergalhões foi projetada para avaliação da curvatura e recurvatura de materiais metálicos, incluindo barras, tubos, placas, materiais de seção poligonal e vergalhões nervurados para construção civil. Ela suporta curvatura de 180°, redobramento e dobramento de tubos de 90°, fornecendo uma força máxima de conformação de 300 kN.
Normas
GB/T 232, GB/T 244, GB/T 3091, GB/T 8162, GB/T 13793, GB/T 28897, ISO 7438, ISO 8491, ISO 559, ISO 6935, BS 4449, BS 4482, BS EN 10080, DIN488-2, SS 212540, ASTM A775, ASTM A706
Solicite uma cotação
Especificações técnicas
| Força máxima de empurro, kN | 300 |
| Curso máximo do cilindro vertical, mm | 500 |
| Velocidade do cilindro vertical sem amostra, mm/s | 0.5-4 |
| Diâmetro do rolo de suporte, mm | 45 |
| Distância entre os suportes, mm | 10-630 |
| Diâmetro do mandril, mm | De acordo com as normas de ensaio |
| Diâmetro das amostras redondas, mm | Ф6-Ф50 |
| Espessura x largura da amostra plana, mm | (6-40)x50 |
| Ângulo máximo de curvatura, ° | 180 |
| Alimentação elétrica | 380V, 50Hz, trifásica |
| Consumo de energia, kW | 5.5 |
| Dimensão principal, mm | 1470x735x2390 |
| Peso, kg | 1700 |
| Dimensão da unidade de energia hidráulica, mm | 500x880x990 |
| Peso da unidade de energia hidráulica, kg | 250 |
| Óleo hidráulico | Óleo hidráulico antidesgaste 46#, 90 litros |
Procedimento de ensaio
Ensaio de curvatura de vergalhões a 180°
Passo 1: Coloque a amostra
Passo 2: Comece a dobrar
Passo 3: Retorne o mandril
Passo 4: Dobre em 180°
Passo 1: Dobre em 90°
Passo 2: Dobre novamente a 20°
Também fornecemos uma variedade de acessórios para todos os tipos de equipamentos de ensaio mecânico.






